2025年长春新区义务教育招生信息登记攻略,网上入口、时间及地址全解析

长春 更新于:2025-07-17 04:18
  • 用户心灵咖啡屋

    截至2023,以下是一份关于2025年长春新区义务教育招生信息登记的攻略,包括网上入口、时间及地址的解析。请注意,具体信息可能会根据当年政策有所调整,以下信息仅供参考。
    网上入口
    1. "长春新区官方网站":通常情况下,长春新区教育局会在官方网站上发布招生信息,并设置在线登记入口。 2. "长春市教育局官方网站":如果长春新区教育局没有独立的网站,可能需要通过长春市教育局的官方网站进行信息登记。
    登记时间
    1. "报名时间":根据往年经验,长春新区义务教育招生信息登记通常在每年的3月至4月进行。 2. "具体时间":具体报名时间会根据当年政策确定,建议密切关注长春新区教育局或长春市教育局的官方公告。
    地址
    1. "长春新区教育局":具体地址通常会在长春新区教育局官方网站或公告中公布。 2. "招生现场":如果需要进行现场确认,具体地址会在招生公告中说明。
    登记流程
    1. "准备材料":在开始登记前,请准备好相关材料,如户口簿、出生证明、房产证等。 2. "网上登记":登录长春新区教育局或长春市教育局官方网站,按照提示进行信息登记。 3. "提交材料":部分学校可能要求提交纸质材料,请按照学校要求准备并提交。 4. "确认信息":完成

    举报
  • 反手神回复

      2025年长春新区义务教育招生网上信息登记注意事项

      2025年义务教育招生网上信息登记时间:5月8日9:00—12日17:00

      、入学条件

      小学入学条件:年满6周岁(2019年8月31日前出生,含8月31日),具有长春新区户籍(或有效居住证)的适龄儿童,可申请入读长春新区小学。

      初中入学条件:具有长春新区户籍(或有效居住证),已经完成小学阶段(6年制)义务教育的毕业生,可申请入读长春新区初中。

      温馨提示:往年已经入学并注册学籍的学生,不得再进行网上信息登记。

      适龄儿童、少年的父母或者其他法定监护人应当依法送其按时入学接受并完成义务教育。对于辖区内因身体健康等原因确需缓学的,父母或其他法定监护人应向新区教育局提出缓学申请,获批准后方可缓学。

      二、信息登记

      请在电脑端登录“长春新区管理委员会”官网(http://www.ccxq.gov.cn),点击右上角“长春新区2025年义务教育招生网上信息登记系统”,仔细阅读报名须知,按系统提示和要求,完成网上信息登记。


      符合新区小学、初中入学条件的适龄儿童少年均需在5月8日9:00—12日17:00,完成网上信息登记。

      网络端口关闭(5月12日17:00)后,不能再修改相关信息。

      为使您的孩子顺利接受义务教育,请务必在规定时间内完成网上信息登记!未在规定时间内完成网上信息登记的,将不能申报民办和转公学校,不能参加空余学位派位,由新区教育局统筹安排入学。

      温馨提示:网上信息登记的时间先后不影响学位派送,只要在规定时间内完成登记即可。为避免高峰期系统拥堵,建议您错峰登记。

      三、信息登记

      1、如实填写基本信息

      (1)新区户籍常住人口这样填报

      请您提前准备好户口本。新区户籍适龄儿童少年按照户口本实际地址填写。由于行政区划原因,高新区的居民户籍地址体现为“长春市朝阳区”、北湖区的居民户口体现为“长春市宽城区”、空港区的居民户口体现为“九台区”,因此,在信息登记时,家长容易进错区域报名端口。在这里特别提示:高新技术产业开发区、北湖开发区、空港开发区常住户口在信息登记时都请选择“长春新区”,确认对应的“派出所”“委”“组”进行填报,写清居住小区名称及具体楼栋号。

      高新区派出所:前进大街派出所、硅谷大街派出所、超越派出所、万顺派出所。

      北湖区派出所:兴华派出所、北湖派出所。

      空港区派出所:空港派出所、西营城派出所。

      (2)新区居住证这样填报

      请您提前准备好原籍户口本和适龄儿童少年有效居住证(居住证暂未办理下来的,到派出所申请出具暂住人口详细信息登记表)。持有新区居住证的适龄儿童少年,填写“现居住地址”一栏时,请选择“长春新区”,依居住证上的地址进行填报,确认“派出所”“委”“组”信息,写清居住小区名称及具体楼栋号。

      (3)九台、双阳区户籍在新区实际居住填报

      由于双阳区、九台区户籍适龄儿童少年无法在长春市中心城区办理居住证,在长春新区实际居住的九台区、双阳区户籍适龄儿童少年,请您提前准备好户口本、购房或租房合同。

      填写“现居住地址”一栏时,请选择“长春新区”,确认实际居住地对应的“派出所”“委”“组”等信息进行填报,并填写实际居住地所在小区名称及具体楼栋号。在信息审核时,持原籍户口和房产证(或租房协议)进行办理。

      温馨提示:空港开发区和中韩示范区的适龄儿童少年将按照户籍地进行学位派送。有在城区或开发区实际居住且有入学需求的,可咨询居住地教育局。

      2、双(多)胞胎填报可共享

      如果您家孩子为双(多)胞胎,且有意愿申报同校入读的,可在网上信息登记阶段,以“双(多)胞胎”身份填报相关信息。在自愿前提下,可使用双(多)胞胎中一个孩子信息,参加以派位入学、空余派位方式招生的学校网上报名以及录取学校电脑均衡分班,其他孩子共享相应结果。

      3、电话号码要保持不变

      因在义务教育招生不同阶段(信息登记及查询修改、民办学校网上报名及录取结果查询、空余学位网上报名及录取结果查询等),需要通过信息登记时录入的手机号码进行身份验证,请各位家长在此期间不要更换电话号码,避免造成不必要的麻烦。

      4、信息有误要及时修改

      为确保报名信息的正确性,务必在提交前仔细核对。

      ** 信息提交后发现信息有误需要修改的,分两种情况处理:

      一、行政区域选择错误的,例如户籍(或居住证)地址为A区,但在B区网站完成了信息登记,请于5月12日11:00前,携带户口簿(或居住证)、身份证等证件到B区教育行政部门申请删除登记信息,然后在网络端口关闭(5月12日17:00)前,登录A区网站重新进行信息登记。

      二、除行政区域以外其他信息(例如姓名、身份证号码)填报有误的,可在系统关闭(5月12日17:00)前,点击“查询、修改”按钮,进行修改并重新提交。

      重要提示!

      为节省您的宝贵时间,非长春新区户籍或非长春新区有效居住证的适龄儿童少年,请勿在新区网站进行信息登记,需要到您户籍或居住证所在区域的网站进行信息登记。

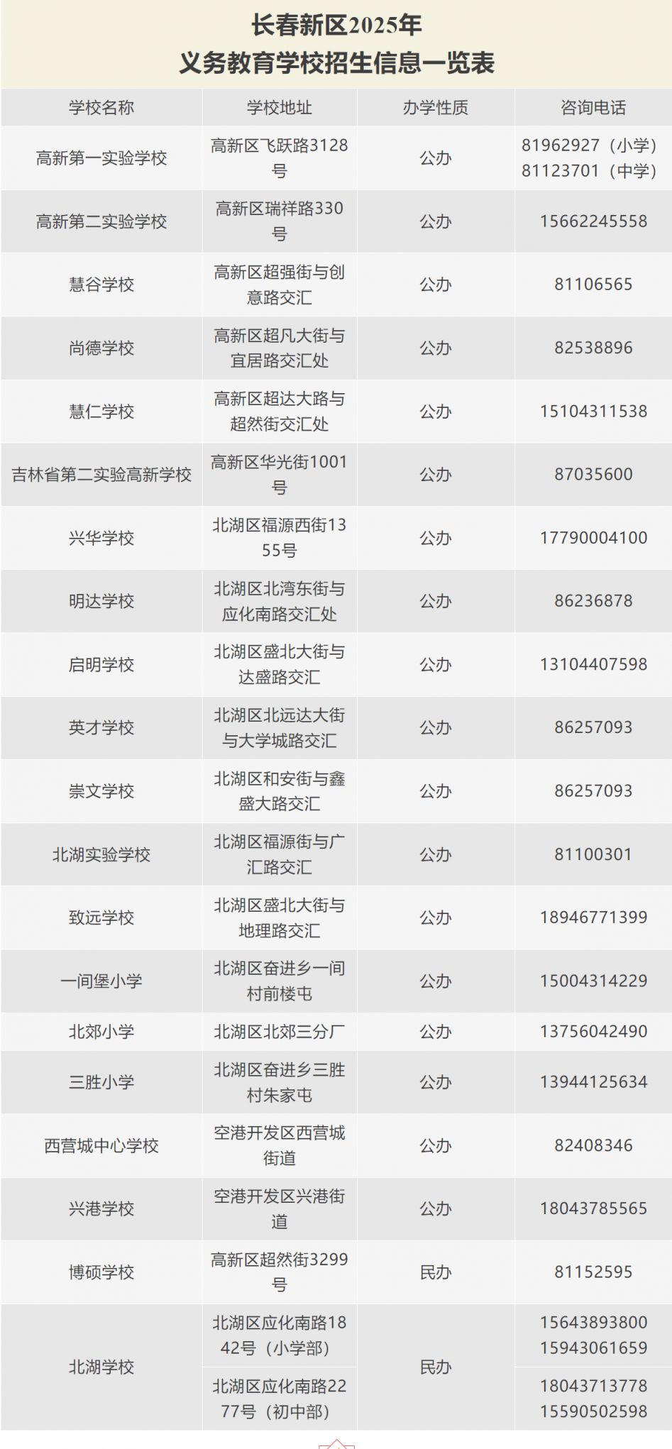
      附学校招生咨询电话

      

      >>>2025长春市义务教育招生(地址+网址+学区网站+电话) 

      >>长春市城区2025年义务教育招生入学问答(中小学入学) 

      >>2025年长春市城区义务教育招生入学政策(条件+派位)

      >>长春/吉林省入学攻略

    举报

你的回答

单击“发布您的答案”,即表示您同意我们的服务条款